南北儀器專業提供實驗室儀器設備一站式解決方案
ABL剝離力測試臺
功能
ABL-90°剝離力zhuan用測試臺,專為NK、HF系列推拉力計配備,可組合成不同用途的試驗機臺,專門用于試驗PC板上銅箔電路附著力或錫箔、鋁箔、膠布等。黏著于物體表面牢度。試驗時以垂直之角度剝離試樣。以測得實際強度。
特點
· 手動操作,梯型螺桿傳動,操作簡單穩定。
· 可將本機架安裝于桌(臺)面使用,使機架更加穩固。
規格參數
· 有效行程: 150mm
· z大負荷:500N
· 長 × 寬× 高:350×210×450 mm
· 凈重:19kg
· 測試區有效面積:105×100 mm ,z大可達105×152mm
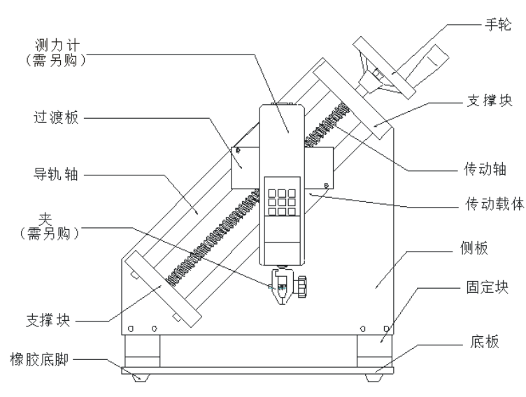
結構示意圖


微信公眾號

京東旗艦店

天貓店鋪
國內銷售
電話:400 098 6966
國際貿易
電話: +86-371-60310701
售后服務
電話:+86-371-60153599
鄭州地址一:鄭州市、金水區、北環路73號、瀚海北金A座14層
鄭州地址二:鄭州市、金水區、北環路72號
北京地址:北京市豐臺區賈家花園15號院7號院一層西側
海外進出口貿易(離岸中心):ROOM 803, CHEVALIER HOUSE, 45-51 CHATHAM ROAD SOUTH, TSIM SHA TSUI, KOWLOON, H K NANBEI INTERNATIONAL GROUP LIMITED
上海地址:上海市、普陀區、長壽路76號
工廠地址:沁陽市未來路、省科學院沁陽科創園區
版權 ©南北儀器有限公司?備案號:豫ICP備08101370號-8?站點地圖 營業執照 友情鏈接:南北科儀